近日,南京正大天晴的硫酸氢氯吡格雷片(受理号CYHS1800273)仿制4类上市申请进入行政审批阶段,有望在近期获批上市。米内网数据显示,2019年中国公立医疗机构终端氯吡格雷销售额为115.72亿元,东阳光药、扬子江等9家药企的硫酸氢氯吡格雷片上市申请在审评中。
硫酸氢氯吡格雷片为抗血栓形成药,已纳入第一批带量采购。米内网数据显示,2017年中国城市公立医院、县级公立医院、城市社区中心及乡镇卫生院(简称中国公立医疗机构)终端氯吡格雷销售额突破百亿元,2018年销售额达到巅峰122亿元,受“4+7”集采降价影响,2019年硫酸氢氯吡格雷片销售额下滑至115.72亿元,同比下滑5.45%。
中国公立医疗机构终端氯吡格雷销售情况(单位:万元)
目前国内市场已有6家企业拥有硫酸氢氯吡格雷片生产批文,分别为赛诺菲、信立泰、乐普药业、石药欧意、阿特维斯、印度瑞迪博士实验室。从企业竞争格局来看,2019年中国公立医疗机构终端氯吡格雷市场领军企业仍为赛诺菲,占据57.45%的市场份额,信立泰占比28.99%。
2019年中国公立医疗机构终端氯吡格雷竞争格局
“4+7”集采中,硫酸氢氯吡格雷片由信立泰独家中标,“4+7”扩围中,硫酸氢氯吡格雷片市场由赛诺菲、石药欧意、乐普药业三家瓜分。尽管氯吡格雷已纳入集采,南京正大天晴等多家国内药企仍积极布局。
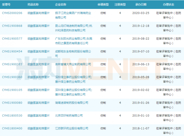
米内网数据显示,扬子江药业集团、东阳光药、苑东生物……9家企业按仿制4类提交的硫酸氢氯吡格雷片上市申请在审评中。
硫酸氢氯吡格雷片上市申请在审评企业
来源:CDE官网、米内网数据库


找产品
招代理商
找工作
查数据




