近日,历时3个月的安徽省药品集采拟中选结果终于出炉,共计37个品种(49个药品)拟中选,涉及38家生产企业,包括上药信谊的独家止泻药双歧杆菌三联活菌胶囊、南京正大天晴的非医保止吐剂盐酸阿扎司琼注射液、海南普利制药的明星脑血管药注射用尼麦角林等。米内网数据显示,37个拟中选品种2021年在安徽省公立医院终端的合计销售规模超过1亿元。多省市集采陆续纳入生物药,生物药集采再掀热潮;新一轮国采已在路上,生物药的纳入情况同样备受关注。
集采规则日渐趋严,中选产品层层过滤
2022年11月,安徽省医药集中采购平台组织起草了新一轮集采征求意见稿,过程跌宕起伏、几经变迁,历时3个月,最终本次集采的拟中选结果于2023年2月正式出炉。

来源:安徽省医药集中采购平台
从集采要求看,安徽省2022年度药品集采约定采购量为全省公立医疗机构、医保定点社会办医疗机构和定点(零售)药店上报采购量基数的90%,目前其他省市采购量比例多为60%~80%,该省适当提高采购量基数既保障了中选药品的获量,又激励了企业降价中选,可谓一举两得。值得注意的是,该轮集采约定量首次覆盖至定点(零售)药店,中选药品采购周期为2年。
集采规则相对简单,采用A/B组双信封制确定入围产品(A组:1类新药、原研药、参比制剂、过评仿制药、全国首款上市的生物药,B组:除 A组外的其他药品),入围后产品企业通过“专家谈判或最终报价”2种方式确定拟中选产品价格。
入围产品数量及规则

来源:安徽省医药集中采购平台,米内网整理
此外,入围产品最终报价不得高于首次报价。①如仅A或仅B组产品中选,拟中选产品负责完成全部约定采购量的80%。②如A、B组同时中选,“中选价低者”分配约定采购量的70%,“中选价高者”获得约定采购量的30%。因此,企业的最终报价不仅影响产品能否进入拟中选名单,更影响着后期约定采购量的分配。
中选产品约定采购量分配情况

来源:安徽省医药集中采购平台,米内网整理
最终同品种单组仅1-2家企业拟中选,可见其淘汰率高,规则也相当残酷。由此看来,此次安徽省集采不仅是考量药品的价格,更是企业产品的质量水平、供应能力、综合实力间的大比拼。
过亿市场格局重塑,齐鲁、南京正大天晴、华润……成功突围
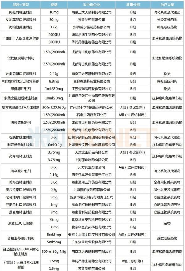
此次安徽省集采共纳入23个注射剂,占比过半,12个口服制剂以及2个外用制剂。其中化学药有31个,另有6个生物药位列其中,分别是利妥昔单抗注射剂、(重组)人促红素注射剂、双歧杆菌三联活菌制剂口服剂、(重组)人白介素-11注射剂、聚乙二醇化(重组)人粒细胞刺激因子注射剂、(重组)人粒细胞刺激因子注射剂。
安徽省集采拟中选品种情况


来源:安徽省医药集中采购平台,米内网整理
拟中选目录中,既有双歧杆菌三联活菌制剂口服剂等独家品种,也有利妥昔单抗注射剂、亮丙瑞林注射剂等医保品种及阿扎司琼注射剂、多柔比星脂质体注射剂等非医保品种,亦有尼可地尔口服常释剂、尼麦角林注射剂、多糖铁复合物口服剂等在2022Q1~Q3安徽省公立医院终端销售额增速超三位数的潜力品种。
双歧杆菌三联活菌制剂口服剂为上药信谊的独家止泻药,其内含长双岐杆菌、嗜酸乳杆菌和粪肠球菌3种益生菌,可协同治疗因肠道菌群失调引起的急慢性腹泻、便秘等,亦可用于儿童腹泻、消化不良等胃肠道疾病及新生儿黄疸、胆汁淤积等肝胆系统疾病,产品潜力十足,上药信谊独家拟中选后,将继续巩固其市场主导地位。
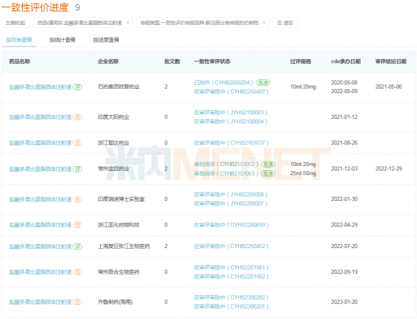
多柔比星脂质体注射剂为高端抗肿瘤制剂,常用于多发性骨髓瘤、淋巴瘤、卵巢癌、乳腺癌的化疗。由于工艺壁垒高、研发投入大、临床成功率低,目前仅石药集团、常州金远药业通过了该药一致性评价,另有上海复旦张江生物提交补充申请在审,齐鲁制药、浙江圣兆药物、浙江智达药业等6家企业以新注册分类报产在审。米内网数据显示,盐酸多柔比星脂质体注射液2022Q1~Q3在安徽省公立医院终端销售额为229万元,同比增长241%,市场潜力不容小觑。
盐酸多柔比星脂质体注射液一致性评价进度

来源:米内网一致性评价进度数据库
拟中选企业方面,齐鲁制药、南京正大天晴、华润昂德生物药业、青山利康药业等均有3个及以上产品拟中选(按产品数统计)。
齐鲁制药在安徽省集采中有4个产品拟中选,包括艾地苯醌口服常释剂、(重组)人白介素-11注射剂、聚乙二醇化(重组)人粒细胞刺激因子注射剂、(重组)人粒细胞刺激因子注射剂。其中,齐鲁的艾地苯醌片2022Q1~Q3在安徽省公立医院终端市场占比不足5%,此次独家拟中选有望加速其产品市场的扩容。
南京正大天晴则有3个产品拟中选,分别是阿扎司琼注射剂、地奥司明口服常释剂、羟乙基淀粉130/0.4氯化钠注射剂,均为独家拟中选。值得一提的是,在上述三个品种的2022Q1~Q3安徽省公立医院终端品牌格局中,南京正大天晴均位居TOP1,市场份额均超70%,霸主地位俨然稳当牢固。
南京正大天晴拟中选产品在2022Q1~Q3安徽省公立医院终端品牌格局

来源:米内网重点省市公立医院药品终端竞争格局
米内网数据显示,在重点省市公立医院终端,安徽省2019-2021年的销售额均在16亿元以上。本轮安徽省集采共纳入37个品种,2021年在该省公立医院终端的合计销售额超过1亿元。
近年来安徽省公立医院终端销售规模(单位:亿元)

来源:米内网重点省市公立医院药品终端竞争格局
生物药成省采“标配”,为新一轮国采“铺路”?
日前,福建、安徽、河北等多省集采均出现生物药的影踪,生物药进入集采逐步成为业内热门话题。自2021年第六批国采(胰岛素专项)的突然来袭,以及越来越多省采将生物药纳入试点,生物药已然成为集采目录的“标配”。
国家医保局认为,和化学药相比,生物药无一致性评价作为支撑,命名复杂多样、产能爬坡提升较慢,因此对集采条件及中选规则作出相应调整显得尤为重要。在第六批国采(胰岛素专项)中,国家医保局在保供的基础上,对中选规则做出较大的修改,比如全部中选等,大幅降价显然不是其主要目的,关键是挤掉药品部分价格虚高以及为后续的生物药集采作试点,规则相对化学药要宽松一些。
据不完全统计,国内生物药及生物类似药获批企业≥4家的品种有3个,包括贝伐珠单抗注射液、阿达木单抗注射液及注射用英夫利西单抗。米内网数据显示,上述品种2021年在中国城市公立医院、县级公立医院、城市社区中心以及乡镇卫生院(简称中国公立医疗机构)终端销售额分别超过60亿元、10亿元及9亿元。市场体量大、竞争格局饱和,这些品种显然是纳入新一轮国采的首选。
有望纳入新一轮国采的生物药

来源:米内网综合数据库
此外,干扰素、人生长激素、人白介素等多个生物药大类的竞争格局均达到4家及以上,如注射用人白介素-2已有深圳科兴生物、四环生物、三生制药等9家企业的生物药获批生产;人干扰素α2b注射液已有海伯尔生物、北京凯因、安科生物、华新生物及未名生物5家企业的生物药获批生产……以上药品大类有望以专项集采(如第六批胰岛素集采)的形式纳入国采。
第八批国采开标在即,第九批似乎已在路上,业内开始流传出新一轮国采重点将是中成药、生物药、甚至是化学药+生物药组合等形式的大猜想。而对生物药而言,其关注度一直很高的原因主要有四点:一是创新药或者改良型新药多;二是价格相对偏高;三是无法开展一致性评价;四是近几年生物药是研发热点,也是国谈的热点产品。
来源:米内网数据库、安徽省医药集中采购平台
注:米内网《中国公立医疗机构药品终端竞争格局》,统计范围是:中国城市公立医院、县级公立医院、城市社区中心以及乡镇卫生院,不含民营医院、私人诊所、村卫生室;米内网重点省市公立医院化学药终端竞争格局数据库是以20+省市,近700家样本省市公立医院的化学药采购数据为基础,对化学药全品类进行连续监测的样本省市样本医院数据库;上述销售额以产品在终端的平均零售价计算。数据统计截至2月10日,如有疏漏,欢迎指正!


找产品
招代理商
找工作
查数据




