近期,眼科用药市场再掀波澜。浙江尔婴药品浙江尖峰药业的玻璃酸钠滴眼液报产获CDE受理,兆科(广州)眼科药物的贝美素噻吗洛尔滴眼液获批上市,拿下首仿。目前,有39个眼科用药(191个受理号)报产在审,江西科伦药业、湖北远大天天明制药等企业猛攻首仿,齐鲁、恒瑞等国产新药蜂拥而至。米内网数据显示,2022年前三季度重点省市公立医院终端眼科用药销售额同比略有下滑,独家产品暴涨242%挺进TOP20,康弘、兴齐等国产品牌突围。此外,眼科用药已有15个品种过评,扬子江和齐鲁领跑,6个品种独家过评。
兆科眼科拿下眼科用药重磅首仿,齐鲁、恒瑞新药来袭

来源:米内网新版数据库
日前,兆科(广州)眼科药物研发的抗青光眼药物贝美素噻吗洛尔滴眼液以仿制4类报产获批上市,拿下首仿,是公司第一款获批的仿制药物。该产品用于降低对β-受体阻滞剂或前列腺素类似物治疗效果不佳的原发性开角型青光眼及高眼压症患者的眼压。米内网数据显示,贝美素噻吗洛尔滴眼液在2022年前三季度重点省市公立医院终端销售额同比增长近6%,仅有原研厂家美国艾尔建在销售。
据了解,兆科眼科成立于2017年,2021年4月在港交所主板上市,是一家领先的眼科制药企业,致力于眼科疗法的研发、生产及商业化。公司已建立起由创新药及仿制药组成的候选药物,涵盖影响眼前节及眼后节的6种主要眼科适应症。
眼科用药新药报产在审情况

来源:米内网新版数据库
今年以来,眼科用药已有8个产品(13个受理号)均以仿制4类报产获批上市,视同过评。
截至目前,眼科用药共有39个产品(191个受理号)报产在审,其中,玻璃酸钠滴眼液最火,有27家企业;其次是盐酸莫西沙星滴眼液,有24家企业;地夸磷索钠滴眼液、盐酸奥洛他定滴眼液、溴芬酸钠滴眼液、左氧氟沙星滴眼液均4个产品有10家及以上企业报产在审。
氯替泼诺混悬滴眼液、核黄素磷酸钠滴眼液、环孢素滴眼液(Ⅲ)、氟比洛芬钠滴眼液、二氟泼尼酯滴眼液、平衡盐眼内灌洗液、环孢素眼用乳剂等国内暂无仿制药获批,涉及江西科伦药业、湖北远大天天明制药、武汉先路医药成都普什制药等多家企业。
4个新药亮眼,分别是成都盛迪医药的SHR8058滴眼液、齐鲁制药的雷珠单抗注射液和阿柏西普眼内注射溶液、兆科(广州)眼科药物的环孢素眼用凝胶。
独家产品暴涨242%挺进TOP20,康弘、兴齐……国产品牌突围
米内网数据显示,2021年重点省市公立医院终端眼科用药销售额超过25亿元,2022年前三季度同比略有下滑。从省市格局来看,北京市、广东省、上海市销售规模位居前三。从小类格局来看,眼部血管病变治疗药的市场份额最大。从厂家格局来看,诺华、成都康弘生物、拜耳居于前三。
2022Q1-Q3重点省市公立医院终端眼科用药产品TOP20(单位:亿元)

来源:米内网重点省市公立医院药品终端竞争格局
注:销售额不足1亿元以*表示
产品TOP10中,雷珠单抗注射液和康柏西普眼用注射液销售额均超过3亿元,阿柏西普眼内注射溶液2021年挺进TOP3,2022年前三季度同比增长超过25%。
从增速来,环孢素滴眼液(Ⅱ)增速最快,达242.69%,地夸磷索钠滴眼液和牛碱性成纤维细胞生长因子滴眼液分别同比增长85.26%、60.92%。9个产品负增长,玻璃酸钠滴眼液和盐酸奥洛他定滴眼液领跌,分别下跌32.86%、23.79%,两个产品均是第四批集采品种,而玻璃酸钠滴眼液在2021年已跌出TOP3。截至目前,眼科用药已有4个品种被纳入集采。
2022Q1-Q3重点省市公立医院终端眼科用药品牌TOP20(单位:亿元)

来源:米内网重点省市公立医院药品终端竞争格局
注:销售额不足1亿元以*表示
品牌TOP20仍是外资企业占据主导,前五位仅有成都康弘生物的康柏西普眼用注射液、上药第一生化药业的注射用糜蛋白酶2个国产品牌。从品牌数量来看,诺华最多有4个,参天制药和沈阳兴齐眼药各有3个上榜。
近年重点省市公立医院终端玻璃酸钠滴眼液季度销售情况(单位:万元)

来源:米内网重点省市公立医院药品终端竞争格局
玻璃酸钠滴眼液是一种人工泪液,主要用于治疗干眼综合征以及角结膜上皮损伤修复等。该产品销售峰出现在2019年,超过3亿元,随后受集采影响快速下滑,2022年前三季度同比下滑超过30%。4家中标企业市场份额快速攀升,其中,成都普什制药、扬子江药业集团、江西珍视明药业销售额均翻倍。玻璃酸钠滴眼液已有22家企业拥有生产批文,沈阳兴齐眼药、浙江莎普爱思药业、湖北远大天天明制药等超过20家企业报产在审,日前,浙江尔婴药品、浙江尖峰药业以仿制4类报产获CDE受理,未来,该产品的市场竞争将会更加激烈。
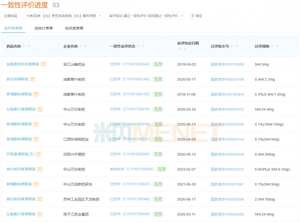
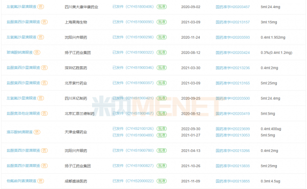
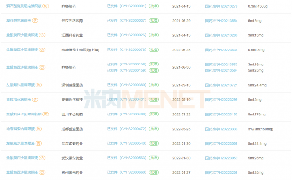
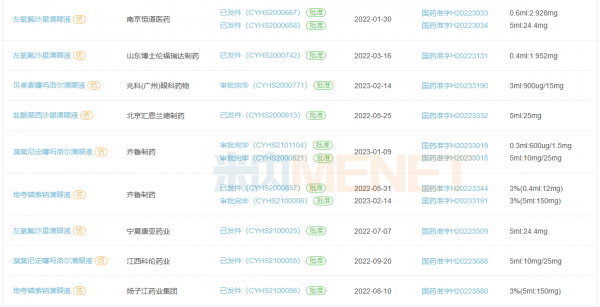
扬子江、齐鲁领跑过评榜,6个品种独家过评亮眼





眼科用药过评情况
来源:米内网新版数据库
截至目前,眼科用药已有15个品种(63个受理号)过评,扬子江和齐鲁领跑,各有4个品种过评。
从品种来看,盐酸莫西沙星滴眼液过评企业最多,有14家,其次是左氧氟沙星滴眼液,有10家。此外,6个品种独家过评,分别是成都普什制药的氯化钠滴眼液、沈阳兴齐眼药的环孢素滴眼液(Ⅱ)、成都盛迪医药的他氟前列素滴眼液、齐鲁制药的酒石酸溴莫尼定滴眼液、四川禾亿制药的盐酸利多卡因眼用凝胶、兆科(广州)眼科药物的贝美素噻吗洛尔滴眼液。
资料来源:国家药监局官网、米内网数据库等
注:米内网重点省市公立医院化学药终端竞争格局数据库是以20+省市,近700家样本省市公立医院的化学药采购数据为基础,对化学药全品类进行连续监测的样本省市样本医院数据库;上述销售额以产品在终端的平均零售价计算。如有疏漏,欢迎指正!


找产品
招代理商
找工作
查数据




